DuploBuster

Wednesday, Jun 14, 2023 | 2 minute read

YOLO C Python STM32 Inventor Altium FreeRTOS 3D Printing Laser Cutter CNC Machining PCB Manufacturing and Assembling
| Updated at Sunday, Nov 9, 2025

DuploBuster

Competition Specifications

The goal of this competition is to create an autonomous robot able to gather Duplo toys and drop them in the collection zone of the 8x8 meters arena that features obstacles and different terrains. The room have four different regions with different color LEDs in every corner. The robot have 10 minutes inside the room to collect as many Duplo as it can.

How the robot collects Duplo

  • A claw grips the toy and elevates it into it’s compartment
  • Once the Duplo has picked up enough toys it releases them at the dropping zone by opening it’s door
  • The front camera uses machine learning to recognize Duplos while a LIDAR scans the environment for obstacles
  • A 360Β° top camera gives the position and angle while an A* algorithm deduces it’s trajectory

Object Detection

Problem Introduction

The duplo are localized using deep learning. In fact the Duplo comes in big variety of colors and shapes, making feature detection algorithm impractical in this situation.

Dataset

Pictures of Duplo in the arena were captured using the same camera (Raspberry Pi Camera V2.1) that would then eventually be used for the inference.

A total of 600 pictures were capture, after deleting the non usable one, 523 remained.

The dataset was labelled on the free to use online platform Roboflow.

Policy Training

The framework used for target identification is YoloV6 (YOLOv6-N to be exact), it is the lightest and fastest to run model among all others (works with \textbf{640x640} pixels pictures). The policy was trained on Google Colab and exported to the ONNX format for inference.

Results

The raw inference performance are the following:

True positive False positive
83% 0%

Electronics

Sensor list

  • Ultrasonic Distance Sensor HCS04 x 2
  • Microswitch Sensor x 4
  • MPU-9150
  • RPLIDAR A1M8
  • Raspberry Pi Camera V2.1
  • Webcam Logitech C720

Actuator list

  • Maxon EC 32 flat (15 W), 1:60 gearbox
  • DC motor x 2
  • Stepper motor
  • Buzzer

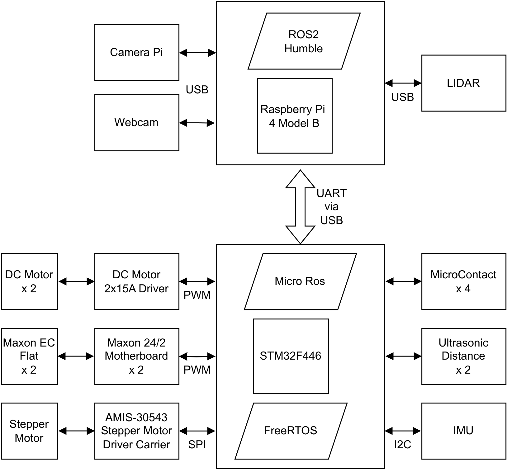
Most of those sensors and actuators are interfaced through I2C, SPI, PWM and Serial.

A STM32F4 is used for interfacing with the sensors and actuators in realtime.

A Raspberry Pi 4 Model B is used for more resource intensive task (e.g. computer vision).

Connections diagram

Electronic assembly

  1. Maxon 24/2 controller
  2. DC Driver 15x2 Lite
  3. Raspberry Pi Camera V2.1
  4. Raspberry Pi 4 Model B
  5. Nucleo F446
  6. Breadboard + IMU + AMIS-30543
  7. Power Board

Custom PCB

connects sensors and actuators with the MCU and Raspberry Pi.

Some hardware details

LIDAR

The claw (grasps the Duplo)

Driving wheels

The front wheels are 3D printed using TPU

Β© 2025

🌱 Powered by Hugo with theme Dream.

Who I am

My name is Antoine Martin (aka martantoine).

Originaly from France, studies and work brought me so far to many places, namely:

  • San Francisco - Bay Area, USA πŸ‡ΊπŸ‡Έ
    • Master thesis then full time Robotics Engineer
    • since March 2025
  • Eindhoven, Netherlands πŸ‡³πŸ‡±
    • Software Engineer intern @ ASML - 2024-2025 (6 months)
  • Lausanne, Switzerland πŸ‡¨πŸ‡­
    • BSc MicroEngineering @ EPFL - 2022
    • MSc Robotics @ EPFL - 2025

French πŸ‡«πŸ‡· and Australian πŸ‡¦πŸ‡Ί citizenship

Area of expertise

My main area of expertise is in:

  • Embedded system software (C/C++, RTOS)
  • Robots control (MPC, RL)

In addition to my main set of skills cited earlier, I have developped secondaries skills (required to have a robot that actually works):

  • PCB design and fabrication
  • Manufacturing using lathe, milling machine, 3d printer, laser cutters
  • CAD and FEA (SolidWorks, Catia V5, Inventor, Fusion360)
  • Desktop software with functional GUI